Herramientas para un buen Geek

logo

Para todos los usuarios geeks de este sitio, les presentamos una recopilación de aplicaciones geek para que utilicen cuando deseen. Entre las herramientas que hay en esta recopilación, podremos encontrar algunas como calcular proporciones, redimensionar imágenes, un codificador MD5 para…


La ciudad que quiere llamarse Google

Al parecer la capital del estado de Kansas, en Estados Unidos, querría cambiar su nombre. De llamarse actualmente Topeka, estaría intentando pasar a denominarse Google City. Por lo que parece, tal deseo se haría realidad durante este mes de marzo…


Fotobabble: Imágenes que hablan

Fotobabble

Fotobabble es una herramienta sumamente simple de usar que permite agregar muy fácilmente cualquier sonido a una imagen y después compartirla. Nada más se sube a la web la imagen que se desea compartir y luego se le graba el…


Chrome: Nuevas funciones de traducción y privacidad

Sistema Operativo Google Chrome

El popular navegador web de la empresa Google ahora cuenta con nuevas funcionalidades tales como control de la privacidad sobre la información que vamos dejando al navegar por Internet y la inclusión de un traductor de idiomas automático, el cual…


pCon.planner, software de ambientación de interiores

pConplanner es un completo programa de diseño de interiores

Para todos aquellos que quieran darle un toque de distinción a su hogar o para los profesionales de la decoración de interiores, les presentamos el programa pCon.planner. pCon.planner es un programa donde en base al manejo de imágenes en tercera…


ChromePlus, mejorando Google Chrome

Chrome Plus mejora tu experiencia en Chrome

Desde hace tiempo, Google Chrome está ganando cada día más adeptos entre los usuarios de navegadores alternativos a Internet Explorer. La rapidez del explorador de Google y su código abierto lo hacen uno de los más populares de este momento….


Reúne toda tu actividad web en un solo sitio con Flavor.me

flavorsloog

Junto con el avance de las aplicaciones web, cada día nos vamos encontrando nuevas funciones y opciones que le dan a la internet un toque disinto. Estas aplicaciones suelen estar destinadas a ofrecer nuevos servicios a los usuarios, dándoles más…


Crear una radio online para compartir música en la web con Spreaker

spreaker-440x231

Actualmente hay algunos servicios que nos permiten la creación de radios online mediante las cuales compartir con nuestros amigos todo tipo de música y programas radiales en general. Hoy deseamos presentarte un nuevo servicio que nos permite realizar estas acciones….


Visual Website Optimizer: Experimentar antes de publicar

Visual Website Optimizer

Visual Website Optimizer es una herramienta que permite poner en práctica múltiples cambios en un sitio web y ayudar a definir cuál es el más adecuado para poder lograr su mejor versión. Esta aplicación es de gran utilidad por ejemplo…


Savevid, descarga y comparte videos de internet

Descargar videos de Internet es algo cada día más común. Gracias a los diversos servicios que nos ofrecen esta posibilidad, podemos disfrutar en nuestro ordenador de casi cualquier video alojado en la Internet. Hoy es momento de presentarte un servicio…


Buzzaware, completo listado de aplicaciones para Google Buzz

buzzaware-209x64

Google Buzz ha sido uno de los lanzamientos más controversiales del gigantesco Google, debido a problemas de seguridad que tuvieron que ser reparados prontamente por los desarrolladores, esta red social ha sido bastante criticada en todo el mundo virtual. Más…


La patente de «Feed» ya es de Facebook

facebook

Tras casi un lustro de duras y complicadas batallas legales, finalmente Facebook obtuvo la patente para la distribución de noticias en las redes sociales en Internet. Este sistema, conocido también como feed, permite compartir en forma automática cualquier actualización efectuada…


Trucos: Carpeta GodMode en Windows 7

carpeta godmode de Windows 7

Desde que Microsoft puso a Windows 7 en el mercado, este sistema operativo ha tenido muchos detractores pero también ultrafanáticos que se han quedado maravillados con las configuraciones y facilidades que ofrece. De todos modos, siempre están aquellos que tratan…


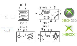
Sony prepara un mando universal para consolas

control-sony

Sony pretende patentar un mando a distancia que permitiría emular consolas antiguas y actuales. El dispositivo estaría orientado a comandar todos los modelos de consolas de la compañía, como así también a los equipos de sus competidores directos, Microsoft con…


Pivot: Cómo poner en orden la web

Pivot

Explorar la web recopilando datos en busca de información puede ser algo de verdad extenuante y confuso. A veces parece que cuanto más información se encuentra, más interrogantes se tienen. Y eso en el mejor de los casos, cuando no…